产品服务热线:电话:0755-83807850
直线:13510762586
邮箱:achenwei2000@126.com
地址:深圳市光明新区白花社区大鸿科技园D栋
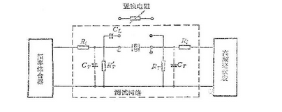
传输法测量线路如图1所示,它是由讯号源、测试网络和指示器三部分组成。为了保证一定的测量精度,对测量线路的各部分都有一定要求。

1、频率综合器(即讯号源)
对频率综合器的要求是:输出频率稳定度要优于1×10-6/天;输出阻抗要与石英谐振器相匹配;功率输出能满足石英谐振器所规定的激励功率。在测试过程中,讯号源的输出电压变化要求小于10%,正弦波的失真度要求小于15%,谐波应比基频讯号低30dB以上。
2、高频毫伏表(即指示器)
对高频毫伏表的要求是:灵敏度和输入阻抗要高;性能要稳定;频率响应要足够宽。
3、测试网络
对测试网络的要求是:接线柱和引线的寄生电抗XT=1/ωCT应远大于并联电阻RT;石英谐振器插座之间的寄生电容CAB应远小于静电容C0;石英谐振器插座之间的寄生电抗XAB要远大于动态电阻Ri;连接石英谐振器导线的电抗要低于静电容C0的电抗。
为了保证传输法的测量精度,对测试网络中电阻RT和Ri的选取应满足下述要求:
(1)并联电阻RT
电阻RT与石英谐振器串联。在串联谐振时,RT是串联谐振电路中电阻的一部分,因而当RT很大时,就会影响谐振曲线的尖锐度,使谐振指示不灵敏、测量误差增大。又根据传输法对测试网络的要求,在整个测量频率范围内,为了保证XT≫RT,减少CT的影响,希望RT小一点好。另一方面,石英谐振器阻抗的变化是通过RT上的电压在指示器上反映出来的,为了使指示器能灵敏地反映出电压的变化,则要求RT大一点好。兼顾这两个方面的要求,一般选取RT=(1/31∼/10)R1为宜。
(2)并联电阻RT´
电阻RT´与石英谐振器并联,它的作用是减小对讯号源输入电压的影响,一般选取RT´=RT。这样,谐振器的阻抗Z虽然随频率变化很大,但是Z与RT´并联后的总阻抗随频率的变化就很小,因此谐振器的输入电压能保持不变。
(3)串联电阻Ri
电阻Ri串联在输入端和输出端,它的作用是减小讯号源的输出阻抗及指示器输入阻抗对石英谐振器两端的影响,Ri的选择应考虑到与讯号源输出阻抗相匹配。一般选取Ri≥10RT为宜。
深圳鸿晶宝科技有限公司
SHENZHEN HJB TECHHOLOGY CO.,LTD
地址:深圳光明区白花社区大鸿科技园D栋
电话:0755-83807850/13510762586
传真:0755-83807853/QQ578950488
邮箱:achenwei2000@126.com
官网:
www.hjb-hk.com

版权所有©深圳鸿晶宝科技有限公司 地址:深圳市光明新区白花社区大鸿科技园D栋
电脑版 | 手机版 法律声明/销售正策/ 粤ICP备2021076367号